쿠팡옵션 수정/삭제 다들 어떻게 하시나요??
아무리 봐도 쿠팡옵션 삭제를 할 수가 없어서, 저는 이렇게 해결하고 있습니다
7단계로 요약했으니 그대로 따라해보세요
■ 쿠팡 일부옵션만 판매중지 하는 법 (7단계)
1단계.
쿠팡윙(판매자센터) 접속 ▶상품관리 ▶[상품 조회/수정] 클릭

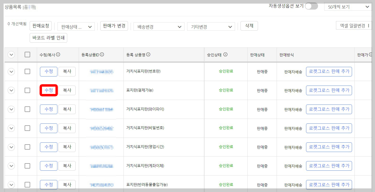
2단계.
옵션을 삭제/수정할 상품의 [수정] 클릭

check.
옵션 왼쪽에 체크박스가 있는데, 클릭되지 않도록 비활성화 상태로 뜹니다..?

3단계.
체크박스 클릭이 안되니, 상단에 [옵션수정] 버튼 클릭

check.
이번에는 옵션 왼쪽에 체크박스가 있는데, [삭제] 버튼이 없습니다..?

4단계.
- 화면을 오른쪽으로 이동해서, 삭제하고 싶었던 옵션의 [재고수량]을 0으로 입력해줍니다
- 그리고 반드시 [저장]을 클릭해줍니다

5단계.
원하는 상품이 재고수량 0으로 잘 수정되었는지 재확인 후, [수정 및 검수 요청] 클릭

6단계.
위의 2단계 화면으로 돌아가서, 해당옵션이 [품절]로 표기가 되는지 반드시 확인해줍니다

7단계.
구매창에서 해당 옵션이 [품절] 상태로 뜨는지 반드시 확인해줍니다
※구매창이 수정되기까지는 몇 분 정도 소요될 수 있으니, 반드시 몇 분 후라도 들어가셔서 [품절] 상태로 뜨는지 확인하시기 바랍니다

재고 없는데 주문들어오면 곤란해지니~ 신속하게 수정하시기 바랍니다.
쿠팡 판매자 분들에게 도움이 될만한 다른 포스팅도 참고해보시길 바래요 :)
▼▼▼▼▼
쿠팡윙 판매자센터 휴무일 설정방법 5단계(페널티 방지)
여름휴가 전 반드시! 휴무일 설정 미리미리 해놓셔야 해요~ 배송지연으로 인한 페널티! 받지 않으시길 바랍니다 ■ 쿠팡윙 휴무일 설정방법 (5단계)1단계)- '쿠팡윙 판매자센터'에 접속하여 로
awesome-rong.com
쿠팡파트너스 가입절차(5단계) 따라하기, 스크린샷 등록방법
■ 쿠팡파트너스란?쿠팡에서 판매하는 제품을 나의 SNS에 링크를 삽입하여 홍보하면서 만약 내 SNS 방문자가 그 링크를 통해 제품구매를 하게 되면 매출금액의 3%를 내가 지급받는 것! ■ 쿠팡
awesome-rong.com

'■ 돈이 되는 플랫폼' 카테고리의 다른 글
| 스마트스토어 제주도서지역 추가배송비 설정방법(5단계) (0) | 2024.07.19 |
|---|---|
| 스마트스토어 대문 꾸미기, 포토샵 없이 로고 만드는 방법(7단계) (0) | 2024.07.16 |
| 스마트스토어 대문 로고 등록방법 3단계 (0) | 2024.07.15 |
| 쿠팡파트너스 가입절차(5단계) 따라하기, 스크린샷 등록방법 (0) | 2024.07.12 |
| 쿠팡윙 판매자센터 휴무일 설정방법 5단계(페널티 방지) (0) | 2024.07.11 |